Copyright ? 2009-2018 All Rights Reserved by ANZEN DENGU(HUIZHOU)
對應RoHS的可溶合金型溫度保險絲.
體積小,有優越的感溫性.
不可恢復型溫度保險絲.溫度保險絲溶斷后,即使周邊溫度下降,也不會再導通.
使用絕緣外殼.
未使用REACH法規指定的169類高度關注(SVHC)物質.(2016年6月20日公布的169類物質).
提升了焊接耐熱性,最適合流動焊接.
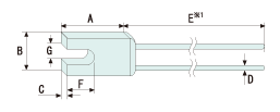
尺寸

Unit : mm
A | B | C | D |
11±0.1 | 6.7±0.1 | 2.5±0.1 | 0.55±0.05 |
E | F | G | |
36±3.0(HU![]() | 4.6±0.1 | 3.2±0.1 |
額定/安全規格認定
品名 | HU0X | |
額定動作溫度 Tf[°C] | 76 | |
動作溫度 [°C] | 72±3 | |
AC/DC | AC | |
額定電壓 [V] | 250 | 125 |
額定電流 [A] | 2.5 | 2.5 |
Th [°C] | 40 | 40 |
Tm [°C] | 200 | 200 |
常用溫度 [°C] | Max. 35°C | Max. 35°C |
安全規格認定 | ||
UL C-UL | E73591 | E73591 |
VDE | 40009806 | 40009806 |
CCC | 2017010205007445 | ― |
PSE | JET5823-32001-1001 | ― |
KTL | SU05088-10002 | ― |
品名 | HU3X | ||
額定動作溫度 Tf[°C] | 115 | ||
動作溫度 [°C] | 111±2 | ||
AC/DC | AC | DC | |
額定電壓 [V] | 250 | 125 | 50 |
額定電流 [A] | 3.0 | 3.5 | 4.0 |
Th [°C] | 74 | 69 | 61 |
Tm [°C] | 200 | 200 | 200 |
常用溫度 [°C] | Max. 69°C | Max. 64°C | Max. 56°C |
安全規格認定 | |||
UL C-UL | E73591 | E73591 | E73591 |
VDE | 40009806 | 40009806 | 40009806 |
CCC | 2017010205007449 | ― | ― |
PSE | JET5823-32001-1003 | ― | ― |
KTL | SU05028-10001 | ― | ― |
品名 | HU4X | ||
額定動作溫度 Tf[°C] | 127 | ||
動作溫度 [°C] | 123±2 | ||
AC/DC | AC | DC | |
額定電壓 [V] | 250 | 125 | 50 |
額定電流 [A] | 3.0 | 3.5 | 4.0 |
Th [°C] | 90 | 81 | 73 |
Tm [°C] | 200 | 200 | 200 |
常用溫度 [°C] | Max. 90°C | Max. 76°C | Max. 68°C |
安全規格認定 | |||
UL C-UL | E73591 | E73591 | E73591 |
VDE | 40009806 | 40009806 | 40009806 |
CCC | 2017010205007449 | ― | ― |
PSE | JET5823-32001-1004 | ― | ― |
KTL | SU05028-10004 | ― | ― |